Serie ETL
Cerchas - Postes de cerca
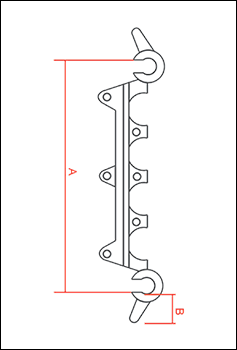
Espaciador utilizado en la fabricación de losas de celosía, para posicionar el refuerzo de hierro y asegurar la cobertura en la parte inferior y laterales de la celosía.

Imágenes meramente ilustrativas. Puede haber variaciones en la sombra y el color.
Producto aplicado





| Informaciones técnicas | |||
|---|---|---|---|
| Código | Tubo | A | B (cobrimento) |
| ETL 80 | Até 6,3 | 80,0 | 12,0 |

